Пресс своими руками: пошаговое руководство по сборке из домкрата гидравлического пресса для гаража и домашней мастерской
Вообще гидравлический пресс считается специалистами одним из самых простых видов пресса, который вполне возможно изготовить своими руками. Данная статья посвящена как раз вопросу создания такого устройства.
Обычно он используется для создания избыточно высокого давления на определенную точку пространства. Его применение характерно для многих автомастерских, где он используется, в целях надлежащего прессования разнообразных валов, подшипников и шестеренок.
Может он применяться и домашним специалистом, который, с его помощью, производит штамповку каких-либо деталей, сделанных из пластика, резины или металла.
Если домашний специалист сталкивается с такой не слишком приятной ситуацией, что в домашних условиях этот пресс попросту отсутствует, он вполне может попытаться сделать его своими руками.
Назначение и функции пресса
Существует довольно много возможностей надлежащего применения пресса. Время от времени он представляет собой поистине необходимый предмет для своего пребывания в домашней мастерской или в гараже.
Например, он практически незаменим при небольшом ремонте собственного автомобиля по причине неисправности, с которой не слишком хочется обращаться в СТО.
- Иногда он действительно необходим при незначительных корректировках сайлентблоков, а время от времени вполне может потребоваться в процессе осуществления выпрессовки подшипников.
- Пресс вполне может применяться в ходе создания специальных брикетов непосредственно из отходов, когда происходит усиленное сжатие двух поверхностей, а также в целях осуществления сгибания различных металлических деталей.
- Причем пресс, собранный на заводе, специализирующемся на изготовлении ему подобных, может быть мастеру не совсем по карману.
Периодически такое случается, и тогда действительно можно попытаться сделать пресс собственноручно, а затем предпринять необходимые действия для адаптации собственного творения к деятельности в пределах определенных задач.
Гидравлический принцип способен снизить прилагаемые специалистом усилия. Простой механизм, основанный на правиле гидравлики, способен заставить чуть ли не любое оборудование действовать более чем эффективно.
Вообще данное устройство способно полноценно применяться в следующих условиях:
- Для сгибания метизов, имеющих различную форму;
- Для корректной установки заклепок;
- Для выпрессовки обычно небольших подшипников из конструкции, обычно встречается в небольших автомастерских;
- Для обеспечения степени надлеащего давления на конкретном участке работы.
Любой мужчина, способный управиться с несколькими инструментами вправе предпринять попытку изготовить такое устройство своими руками и только для его непосредственного применения.
Собственноручно собранное устройство, способное осуществить богатый спектр возможных работ, в целях проведения ремонта, обслуживания и профилактики.
Можно совершить довольно качественный осмотр наиболее популярных устройств:
- Гидропресс, приобретенный или даже сделанный своими руками, необходим любому мастеру, хоть на домашнее рабочее место, хоть в его небольшой и незаметный автосервис. Если он уже определился, что сделает собственноручно подобное устройство, ему стоит дополнительно определиться, как именно будет установлен манометр, какими размерами и массой будет обладать поршень и вообще: владельцы каких именно ТС смогут обращаться в автосервис за ремонтом. Причина для этого всего одна: упрощенный вариант самостоятельно собранной конструкции не подойдет для осуществления ремонтных действий над крупными автомобилями.
- Пресс для макулатуры зачастую является необходимым для мастерской и домашнего склада. Ведь при чрезмерном скоплении различных газет и журналов, т.е. настоящих Эверестов бумаги, необходимо проведение их утилизации. Подобная конструкция характеризуется не слишком большой мощностью, а потреблять электроэнергию способна или от собственного аккумулятора, или от стандартных 220 В, присутствующих непосредственно в сети. Данное устройство не слишком большого размера гарантированно будет способно справляться с уборкой большого количества ненужной макулатуры.
- Пресс для картона вполне может быть сделан, как предыдущий вариант пресса для макулатуры, только его мощность будет значительно выше. С его помощью поддаваться прессовке будут даже пластиковые бутылки или жестяные емкости. Если установка подобного устройства будет совершаться только своими силами, без приглашения специалиста, потребуется осуществлять корректный учет параметров поршня и станины, а также габариты и вес оборудования. Обычно такой пресс характеризуется применением готового или ручного гидравлического насоса.
- Пресс для опилок может использоваться в процессе создания брикетов из мусора, либо, например, выгруженного поблизости торфа. Брикетированный торф замечательно подходит для отопления частной собственности. А само устройство будет состоять из стола, специального силового каркаса, основания и привода. В качестве механизма для подачи может применяться ручной или электрический элемент.
- Пресс для сборки сена представляет собой устройство, напоминающее формой короб, установленное на специфическую рамочную конструкцию. Такие рамочные конструкции вполне могут исполняться из металлических составляющих, и обычно такой короб лишен крышки.
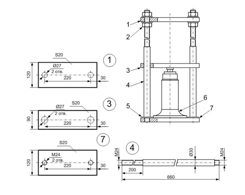
Создание пресса своими руками
Для изготовления подобного пресса своими руками наверняка могут понадобиться некоторые дополнительные материалы, а именно:
- Чертежи с полноценными размерами;
- Металлические уголки и рейки;
- Прошедшие специфическую обработку доски.
Для конструирования подобного аппарата, да еще и своими руками, обработанные надлежащим образом доски соединяются между собой, посредством использования металлических уголков.
- После этого практически собранный короб, в целях добавления ему дополнительной прочности, обивается металлическими рейками, так же предварительно запасенными.
- И уже затем потребуется перейти к дверце на данном устройстве.
- Для осуществления надлежащей сборки агрегата, потребуется крепление специального элемента к лобовине аппарата, создание основы для надлежащего закрепления всех узлов, деталь, осуществляющая движение устройства и, собственно, транспортная конструкция, исполняющая сбор.
Рекомендуется использование сборной конструкции рулонного типа, и применение такого аппарата будет реальным на протяжении одного цикла сборки.
Устройство, представляющее собой макулатурный пресс, используется обычно в различных приемках вторсырья.
- Он наделен способностью давления от 15 до 50 тонн, что помогает делать при сборе небольшие стопки.
- Подобное устройство может быть 2 основных разновидностей.
Либо это создаваемый своими руками механический вариант, представляющий собой довольно простую конструкцию с незначительной мощностью, либо собственноручно собранный гидравлический агрегат, с мощностью давления до 4 тонн.
Механический вариант пресса
Осуществляет свою деятельность либо на автоматической, либо на ручной тяге. Преимущественно такая конструкция собирается из стали, что подразумевает ее высокую прочность.
С помощью ручного пресса выполняются следующие функции устройства, т.е. могут обрабатываться:
- Полимерные или пластмассовые изделия;
- Резина и натуральная либо искусственная кожа;
- Картон и поролон (либо его более современный аналог – пенополиуретан);
- Любые мягкие металлы.
Виды пресса
Подобный пресс, имеющий механический привод, способен производить выпрессовку подшипников и втулок, штамповку либо высечки небольших по размеру изделий. Это устройство делает вполне возможной экономию затрачиваемого времени.
Гидравлический ручной аппарат осуществляет некоторое усилие, благодаря участию в процессе штока гидроцилиндра.
В штоке располагается жидкость, осуществляющая требуемое сжатие под влиянием напора, Данное устройство может применяться для сжатия, деформации или соединения различных деталей.























































































































