Арматура для унитаза: пошаговое руководство, как самому починить сливной бачок, отрегулировать и заменить смывной механизм
Грамотно выбранное и вмонтированное оборудование в бачок гарантирует безупречную, бесперебойную работу всей конструкции.
Свойство функционирования сантехники в значительной степени находится в зависимости от системы бака, его технических особенностей и фурнитуры.
По этой причине в этой статье будут рассматриваться основные разновидности составляющих для унитаза с фронтальной, нижней и поверхностной арматурой. Помимо этого, здесь присутствуют советы по подбору и монтажу разных частей арматуры.
Виды и общие характеристики
Арматура, встроенная в сливном баке, рассчитана на осуществление ряда функций. Одни элементы способствуют наполнению ёмкости, вторые несут ответственность за её слив, последние не позволяют перелив.
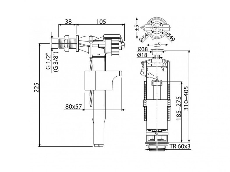
- Система, которая обеспечивает наполнение бака водой, при помощи эластичной трубки осуществляет подачу воды.
- Данный вид арматуры оборудован особым клапаном, который в определённое время срабатывает и закрывает доступ.
- Функционирование данного элемента находится в зависимости от расположения шарообразного буйка.
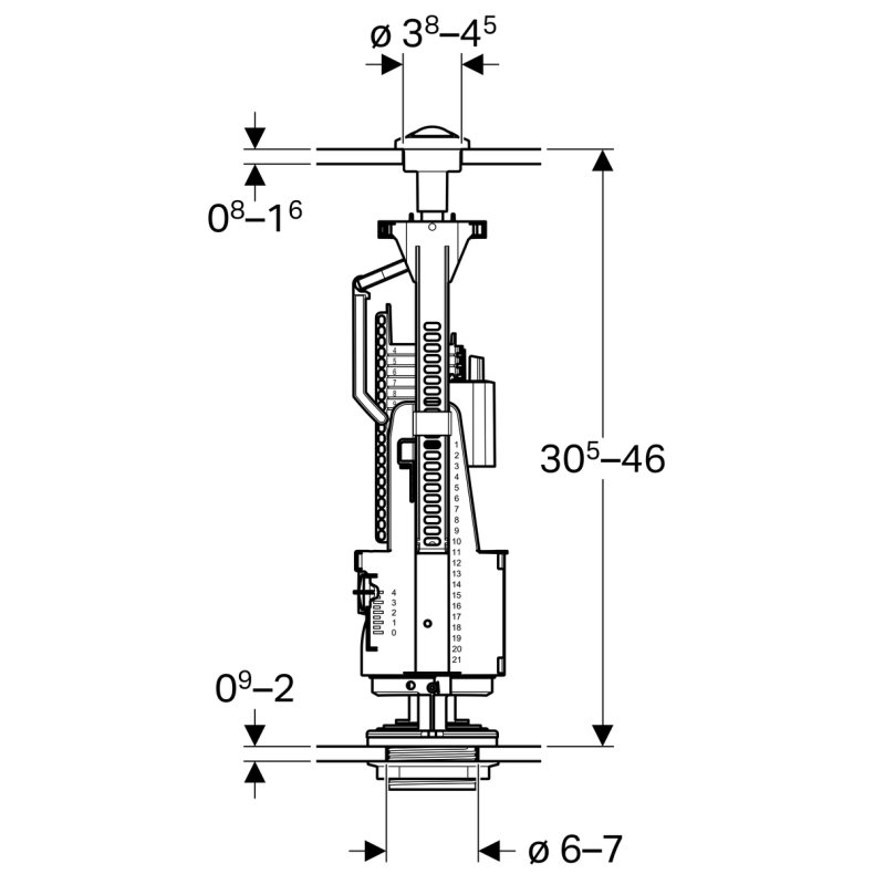
- Главным компонентом сливающего оборудования для унитаза считается гидроклапан, который сформирован на сливном проходе.
Если нажать на рычаг, либо кнопку спуска, появляется тяга, которая приводит его в движение.
Защищающую функцию от перелива, либо переполнения бака осуществляют категории предохранительных приборов. Данный элемент предполагает собой пустотелую трубку из пластмассы. В баке она функционирует в вертикальном состоянии.
Составляющие унитаза
В каждом бачке есть арматура, она корректирует всю систему бачка. Во множествах модификаций унитазов к оборудованию прилагается набор требуемых болтов и гаек, а также крепёжных компонентов.
По методам подачи воды различаются такие виды арматуры:
- Установленные наверху;
- Закреплённые снизу;
- Многофункциональные.
Верхняя арматура устанавливается с боковой части бака. Но при этом эластичная улитка, которая отвечает за подачу воды, подключается наверху.
Сливные баки иностранного производства собираются почти всегда арматурой с нижней конструкцией. Невзирая на то, что элементы сделаны из пластмассы, качество абсолютно всех частей очень высокое.
Многоцелевая конструкция очень комфортна, так как даёт возможность осуществить подачу воды как верхним способом, так и нижним. Когда уже есть некая определённость в установке, ненужное отверстие закрывается специальным уплотнителем. Он прилагается в наборе к оборудованию.
Материал для изготовления фурнитуры делится на следующие виды:
- Пластмассовый;
- Железный (для изготовления применяется соединение латуни, либо бронзы).
В большинстве случаев в бачках применяются пластмассовые системы. Когда отдельные элементы выходят из строя, либо изнашиваются, то приобрести арматуру для унитаза не является проблемой.
Пластмассовая продукция предоставлена в широком ассортименте в любом супермаркете. Если даже невозможно найти нужный компонент, то всегда можно приобрести новую конструкцию. Цена элементов из пластмассы существенно ниже, чем стоимость металлических компонентов.
Арматура с нижней подводкой
Вся система с нижним типом конструкции, как правило, устанавливается в унитазах иностранного изготовления. Данные системы не создают большого количества шума и поэтому они увеличивают удобство эксплуатации общего устройства.
Бачки, в которых установлена концепция с нижней подводкой, смотрятся наиболее комфортно, нежели модификации, доставка воды в которых выполняется сверху.
Концепция с нижним оборудованием заключает в себе следующие части:
- Поплавка, который регулирует процедуру подачи воды в резервуар;
- Спускового прибора;
- Устройства с направлением (по ней перемещается поплавок);
- Колец уплотнителей (применяются для изоляции системы в ходе монтажа арматуры);
- Редукционный клапан.
Правила воздействия трубопроводного оборудования для бака с подводкой снизу достаточно простой. Данная концепция удерживает нужную высоту воды в баке.
Если резервуар переполнен, арматура закрывает кран, а также прекращает подачу жидкости и сразу же после слива вновь его раскрывает.
Есть 2 варианта заливных конструкций:
- Кнопочный — сливание воды совершается автоматическим способом во время нажимания на кнопку.
- Вытянутый механизма — сливание воды происходит по такому же принципу, но одного нажимания на кнопку будет недостаточно. Здесь система учитывает присутствие ручки, её нужно сначала вытянуть наверх, а затем вернуть в исходное положение. Лучшим вариантом является кнопочный вид, по этой причине он применяется изготовителями намного чаще.
Достоинства запорного оборудования для бачка:
- Значительный уровень прочности;
- Крайне редко появляется потребность в починке;
- Даёт возможность скрыть наливную трубу;
- Функционирует очень тихо;
- Продолжительный период работы.
Данный вид арматуры не лишён недочётов. Установка концепции весьма сложная. При появлении неисправности легче осуществить смену арматуры сливного бака, нежели производить ремонт её единичных элементов.
Арматура с фронтальной подводкой
В сантехнике российского изготовления как правило устанавливается концепция с фронтальной подводкой. Так, подающая труба укрепляется не на самом дне бака, а рядом, при этом он должен располагаться намного выше уровня воды в полном бачке.
Главные элементы оборудования для бачка с фронтальным положением:
- Впускающий гидроклапан, дающий воду;
- Указатель (объединён с впускающим вентилем при помощи рычага);
- Система спускания;
- Двигатель, рассчитанный для контролирования спускательного приспособления.
Устанавливаемая с фронтальной стороны унитаза система спуска воды может быть кнопочной, а также штоковой.
Подбирая арматуру для унитаза, необходимо сконцентрировать свой интерес на подборе высококачественных, крепких пластиковых элементов, для того чтобы каркас был устойчив к перегреву, а также охлаждению и выдерживала нагрузку.






































































































